ROZWIŃ MENU ZWIŃ MENU

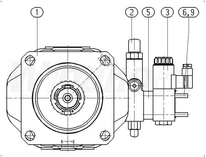
AAA10VSO140DR/31R-PKD62N00-SO904 (R902414188)

Pompa tłokowa osiowa o zmiennej objętości roboczej A10VS, obieg otwarty, ciśnienie nominalne 280 bar, ciśnienie maksymalne 350 bar. Seria 31. Wielkość nominalna 140 cm3. Ciśnieniowy sterownik hydrauliczny.
1

ZESPÓŁ PODSTAWY
(136371)

GRUPA »

 
2

ZAWÓR REGULACYJNY
(112882)

GRUPA »

 
3

KIERUNKOWY ZAWÓR SUWAKOWY
(136465)

 
5

PŁYTA POŚREDNIA
(136466)

GRUPA »

 
6

ŚCIĄG
(133236)

 
9

NAKRĘTKA SZEŚCIOKĄTNA
(120805)

 

powrót

Powyższe schematy należą do Rexroth www.boschrexroth.com
ZAUWAŻYŁEŚ BŁĄD? ZGŁOŚ GO »
ZAUWAŻYŁEŚ BŁĄD? ZGŁOŚ GO
×

Błąd został wysłany. Dziękujemy.