ROZWIŃ MENU ZWIŃ MENU

AAA10VSO140DR/31R-PKD12N00 (R902403807)

Pompa tłokowa osiowa o zmiennej objętości roboczej A10VS, obieg otwarty, ciśnienie nominalne 280 bar, ciśnienie maksymalne 350 bar. Seria 31. Wielkość nominalna 140 cm3. Ciśnieniowy sterownik hydrauliczny.
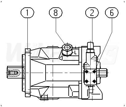
1

ZESPÓŁ PODSTAWY
(136444)

GRUPA »

 
2

ZAWÓR REGULACYJNY
(112799)

GRUPA »

 
6

ŚRUBA Z ŁBEM WALCOWYM
(10074)

 
8

ADAPTER
(30933)

GRUPA »

 

powrót

Powyższe schematy należą do Rexroth www.boschrexroth.com
ZAUWAŻYŁEŚ BŁĄD? ZGŁOŚ GO »
ZAUWAŻYŁEŚ BŁĄD? ZGŁOŚ GO
×

Błąd został wysłany. Dziękujemy.