ROZWIŃ MENU ZWIŃ MENU

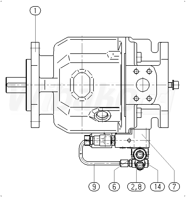
AAA10VSO100DRG/31R-PKC62K04-S1184 (R902416387)

Pompa tłokowa osiowa o zmiennej objętości roboczej A10VS, obieg otwarty, ciśnienie nominalne 280 bar, ciśnienie maksymalne 350 bar. Seria 31. Wielkość nominalna 100 cm3. Ciśnieniowy sterownik hydrauliczny z zaworem odcinającym, sterowany zdalnie
1

ZESPÓŁ PODSTAWY
(136209)

GRUPA »

 
2

ZAWÓR REGULACYJNY
(13986)

GRUPA »

 
6

ŚRUBA Z ŁBEM WALCOWYM
(20134)

 
7

PŁYTA ZAWOROWA
(108275)

GRUPA »

 
8

USZCZELKA
(13987)

 
9

ORUROWANIE
(20130)

GRUPA »

 
14

KOREK GWINTOWANY
(11371)

 

powrót

Powyższe schematy należą do Rexroth www.boschrexroth.com
ZAUWAŻYŁEŚ BŁĄD? ZGŁOŚ GO »
ZAUWAŻYŁEŚ BŁĄD? ZGŁOŚ GO
×

Błąd został wysłany. Dziękujemy.