ROZWIŃ MENU ZWIŃ MENU

AA4VG90HD3D1/32L-NSF52F071D-S *FNI* (R902148630)
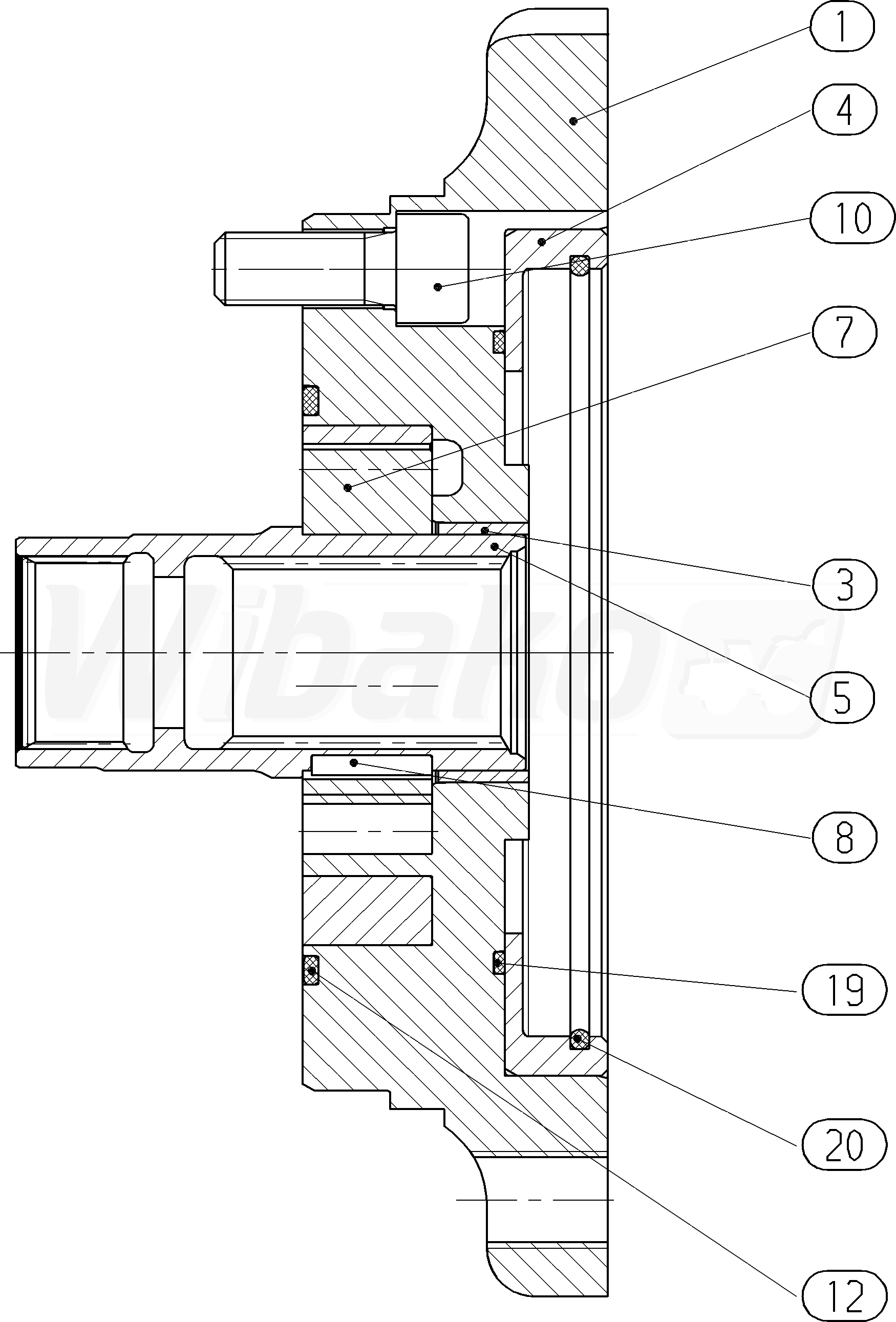
POMPA ZĘBATA O ZAZĘBIENIU (63030)

POMPA ZĘBATA O ZAZĘBIENIU
(63030)

 
1

KOŁNIERZ BEZPOŚREDNI
(63053)

 
3

TULEJA ŁOŻYSKA
(19095)

 
4

PIERŚCIEŃ POŚREDNI
(12932)

 
5

WAŁ NAPĘDU POŚREDNIEGO
(44081)

 
7

PODZESPÓŁ KOŁA
(12798)

 
8

WPUST PRYZMATYCZNY
(12799)

 
10

ŚRUBA Z ŁBEM WALCOWYM
(10164)

 
12

O-RING
(10461)

 
19

BURL SEAL RING
(26157)

 
20

O-RING
(12936)

 

powrót

Powyższe schematy należą do Rexroth www.boschrexroth.com
ZAUWAŻYŁEŚ BŁĄD? ZGŁOŚ GO »
ZAUWAŻYŁEŚ BŁĄD? ZGŁOŚ GO
×

Błąd został wysłany. Dziękujemy.